How can they patent it? I’ve seen something very similar more than 20 years ago. AI is a keyword here? Like you can patent everything as long as it’s AI?
Yeah, it’s especially funny to me, because the word “AI” has been used in gaming to describe the behavior code for NPCs since forever. And in this case, they actually even happen to refer the same thing in the end. At best, it’s a different strategy for getting to that same end result.
Uggghhh. Sony was already the worst with the annoying fucking nagging if the player takes a micro-second to look at anything that isn’t a button to the next level/mission/etc. “I think this panel is part of a puzzle!” “Yeah, I fucking know that already. I’m just taking a second to look at the other 99% of the game you assholes spent years designing. Shut up!”
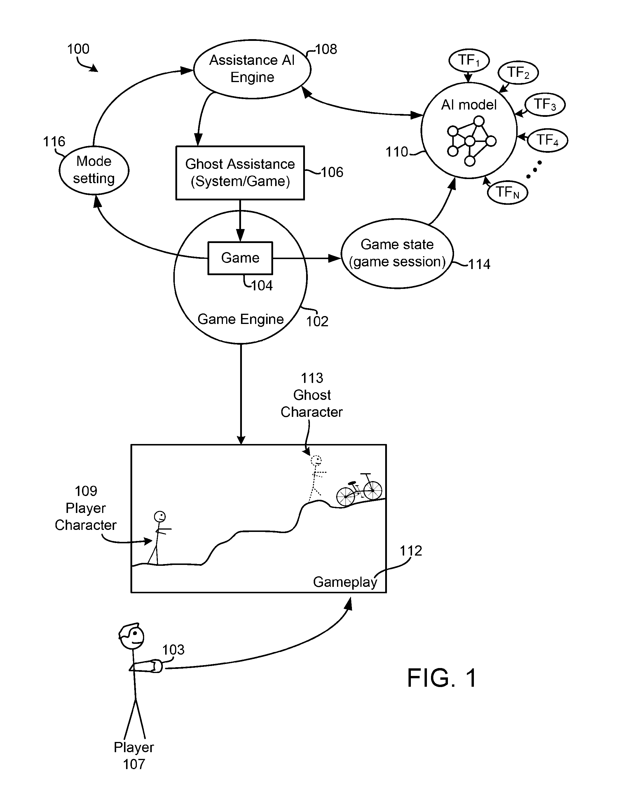
I wonder if the much more sensible strategy of just making the ghost a recording of a person beating it, instead of shoehorning in AI, would infringe on this patent.
No one wants a ghost recording? Due to the common use of it in racing games since forever and the implementation of a similar mechanic in FromSoftware games being so well received.
Right. I’m going to have to suggest you re-read my comment and the context. What I was saying was that a ghost function that isn’t AI-powered wouldn’t be susceptible to legal action under this patent. I also have no doubt Sony will force this in anyway. All of the big companies have gone gaga for AI. I have absolutely no idea why other than very poorly made projections, but the reality is they insist on using the biggest crowbar they can find.
I wonder if in the future this sort of functionality would become common place.
I could actually see this being useful in some complex strategy / business sims for querying more convoluted or unintuitive gameplay mechanic. But it would have been done well, more of a dynamic Wiki query tool powered by a local LLM than Sony’s approach.
Why would they make an easy solution to a problem they’ve created when they could sell you a convoluted one that makes use of everyone’s favourite buzz word?
Let me guess, you have to pay a monthly subscription fee for this and if you want the free tier, it would just require you to play all games with an internet connection to ensure you aren’t doing something you shouldn’t and collecting your juicy data in the meantime. This fucking timeline is almost like the fallout timeline
You are not logged in. However you can subscribe from another Fediverse account, for example Lemmy or Mastodon. To do this, paste the following into the search field of your instance: [email protected]
No game suggestions, friend requests, surveys, or begging.
No Let’s Plays, streams, highlight reels/montages, random videos or shorts.
No off-topic posts/comments, within reason.
Use the original source, no clickbait titles, no duplicates.
(Submissions should be from the original source if possible, unless from paywalled or non-english sources.
If the title is clickbait or lacks context you may lightly edit the title.)
How can they patent it? I’ve seen something very similar more than 20 years ago. AI is a keyword here? Like you can patent everything as long as it’s AI?
Yeah, it’s especially funny to me, because the word “AI” has been used in gaming to describe the behavior code for NPCs since forever. And in this case, they actually even happen to refer the same thing in the end. At best, it’s a different strategy for getting to that same end result.
Uggghhh. Sony was already the worst with the annoying fucking nagging if the player takes a micro-second to look at anything that isn’t a button to the next level/mission/etc. “I think this panel is part of a puzzle!” “Yeah, I fucking know that already. I’m just taking a second to look at the other 99% of the game you assholes spent years designing. Shut up!”
why not just have an AI play the whole game for you? sounds great /s
Lookout twitch streamers AI is going to take your job too!
I don’t think this will be a joke for long.
I wonder if the much more sensible strategy of just making the ghost a recording of a person beating it, instead of shoehorning in AI, would infringe on this patent.
Thankfully that’s unlikely due to such an approach having a completely different implementation.
And also due to it being something no one fucking wants.
No one wants a ghost recording? Due to the common use of it in racing games since forever and the implementation of a similar mechanic in FromSoftware games being so well received.
Visual similarities ≠ identical mechanic.
FS’s is a way for human players to interact in each others games. And racing ghosts are just asynchronous multiplayer.
This is literal hand-holding so the player doesn’t have to bother actually playing the game.
Right. I’m going to have to suggest you re-read my comment and the context. What I was saying was that a ghost function that isn’t AI-powered wouldn’t be susceptible to legal action under this patent. I also have no doubt Sony will force this in anyway. All of the big companies have gone gaga for AI. I have absolutely no idea why other than very poorly made projections, but the reality is they insist on using the biggest crowbar they can find.
I’m 100% certain I’ve seen this in a game ages ago, but without the dumb AI part.
I feel like that was a thing in one of the mario games?
Hmm, possible. Paper?
Titanfall 2 definitely had the ghost thing.
Didn’t Nintendo already do this? Seems like an invalid patent.
https://gamefaqs.gamespot.com/wii/960544-new-super-mario-bros-wii/answers/130039-super-guide
Well that’s much easier than just designing a good game
God forbid someone having to actually figure something out on their own…that’s practically abuse
So … they patented NPCs?
I wonder if in the future this sort of functionality would become common place.
I could actually see this being useful in some complex strategy / business sims for querying more convoluted or unintuitive gameplay mechanic. But it would have been done well, more of a dynamic Wiki query tool powered by a local LLM than Sony’s approach.
this seems dumb to me. spend dumptrucks full of money on AI, when they could have just included a ‘skip this part’ button that does the same thing?
Why would they make an easy solution to a problem they’ve created when they could sell you a convoluted one that makes use of everyone’s favourite buzz word?
lol “look at us! we’re using ai toooooo!!!”
get fucked, sony
Couldn’t agree more.
Old games just had cheat codes
Why even play the game then!?
Good, now nobody else can implement this idiotic system and I will continue to just not buy Sony games.
Player: “Uh, hey… wouldn’t beating this section be easier if you didn’t jump directly into the lava pit?”
AI Ghost: “LOL, you’re right!! 😂😅🤦🏼♂️🤦🏼♂️🤦🏼♂️🤦🏼♂️ I’ll try to incorporate your feed back into future attempts to complete this section!”
<Proceeds to beeline for the lava pit and jump in>
The “claim” is that it would be trained on gameplay footage, so like … is it just going to do what a bunch of players do?
“I’m sorry, I’ve failed you. I’m trash.” <Corrupts your saves, for every game, including cloud saves. Bricks your system>
Yet another reason to avoid Sony.
Let me guess, you have to pay a monthly subscription fee for this and if you want the free tier, it would just require you to play all games with an internet connection to ensure you aren’t doing something you shouldn’t and collecting your juicy data in the meantime. This fucking timeline is almost like the fallout timeline